طول گیرایی و وصله میلگرد

14031208

اطلاعات عمومی

f'c مقاومت فشاری بتن - حداکثر مجاز 70 مگاپاسکال (N/mm2)
fy تنش جاری شدن میلگرد (N/mm2)
db قطر میلگرد (mm)
λ ضریب تصحیح مشخصات مکانیکی بتن سبک نسبت به بتن معمولی
rAs نسبت میلگرد مورد نیاز به میلگرد تأمین شده

در موارد زیر مقدار rAs باید برابر 1 در نظر گرفته شود:

الف- در تکیه گاه ممتد،

ب- در محل هایی که مهار با گیرایی برای تامین تنش تسلیم لازم است،

پ- در مواردی که میلگردها باید پیوسته باشد،

ت- در سیستم های باربر لرزه ای در سازه های با شکل پذیری متوسط و زیاد،

ث- برای میلگردهای آجدار سر دار یا مهار شده با قلاب و یا دارای مهار مکانیکی،

ج- مهار آرماتور شمع در سر شمع.

1. طول گیرایی میلگرد آجدار و سیم های آجدار در کشش

1. 1. روش دقیق

cb1 کوچکترین فاصله میلگرد یا سیمی که مهار می شود تا نزدیکترین رویه بتن (mm)
cb2 فاصله ی مرکز تا مرکز میلگردها و یا سیمهایی که مهار می شوند (mm)
حداقل cb1 , cb2
dbv قطر آرماتور عرضی (mm)
فاصله آرماتورهای عرضی (mm)
nvتعداد آرماتورهای عرض در فاصله
تعداد میلگردها یا سیم هایی که دارای مهار یا وصله پوششی در طول صفحه شکاف خوردگی می باشند
Ktr شاخص آرماتور عرضی
min [ (cb+Ktr)/db , 2.5 ]
رده فولاد
پوشش میلگرد
دسته بندی قطر میلگرد
موقعیت میلگرد
خلاصه ضرایب اصلاح
Ψg
Ψe
Ψs
Ψt
طول گیرایی میلگرد آجدار و سیم های آجدار در کشش به روش دقیق
min [ Ψt . Ψs , 1.7 ]
ld1 طول گیرایی میلگرد آجدار و سیم های آجدار در کشش (mm)
ld-min طول گیرایی میلگرد آجدار و سیم های آجدار در کشش (mm)
ld طول گیرایی میلگرد آجدار و سیم های آجدار در کشش (mm)

1. 2. روش تقریبی جدول 9-21-4

فاصله آزاد و پوشش
طول گیرایی میلگرد آجدار و سیم های آجدار در کشش به روش تقریبی جدول 9-21-4
ld1 est طول گیرایی میلگرد آجدار و سیم های آجدار در کشش به روش تقریبی (mm)
ld min طول گیرایی حداقل میلگرد آجدار و سیم های آجدار در کشش (mm) 300
ld est طول گیرایی میلگرد آجدار و سیم های آجدار در کشش به روش تقریبی (mm)

2. وصله ی پوششی میلگردهای آجدار و سیم های آجدار در کشش

lst وصله ی پوششی میلگرد آجدار و سیم های آجدار در کشش - روش دقیق
lst est وصله ی پوششی میلگرد آجدار و سیم های آجدار در کشش - روش تقریبی

در مواردیکه وصله ی پوششی برای میلگردهای با قطرهای متفاوت انجام می شود، lst نباید از هیچ یک از مقادیر زیر کمتر باشد:

الف - طول گیرایی ld برای میلگرد با قطر بزرگتر،

ب - طول وصله کششی lst برای میلگرد با قطر کوچکتر.

3. طول گیرایی میلگرد آجدار و سیم های آجدار در فشار

Ψr شرایط محصور شدگی
طول گیرایی میلگرد آجدار و سیم های آجدار در فشار
Ψr ضریب محصور شدگی
ldc1 طول گیرایی میلگرد آجدار و سیم های آجدار در فشار (mm)
ldc min طول گیرایی حداقل میلگرد آجدار و سیم های آجدار در فشار (mm) 200
ldc طول گیرایی میلگرد آجدار و سیم های آجدار در فشار (mm)

4. وصله ی پوششی میلگردهای آجدار و سیم های آجدار در فشار

lsc وصله ی پوششی میلگرد آجدار و سیم های آجدار در فشار

برای وصله پوششی میلگردهای با قطرهای متفاوت در فشار، طول وصله ی پوششی نباید از هیچ کدام از مقادیر زیر کمتر باشد:

الف - طول گیرایی در فشار ldc برای میلگرد با قطر بزرگتر، محاسبه شده بر اساس بند 9-21-3-8 (طول گیرایی میلگرد آجدار در فشار)،

ب - طول وصله پوششی در فشار lsc برای میلگرد با قطر کوچکتر، محاسبه شده بر اساس 9-21-4-5-1.(وصله پوششی میلگرد آجدار در فشار)

5. طول گیرایی میلگرد آجدار با قلاب استاندارد در کشش

db قطر میلگرد مهار شده با قلاب (mm)
تعداد میلگرد مهار شده با قلاب (mm)
قطر تنگ و خاموت محصور کننده قلاب (حداقل 2 عدد) موازی طول ldh با فاصله مساوی در طول انتهای آزاد خم * (mm)
تعداد تنگ و خاموت محصور کننده قلاب (حداقل 2 عدد) موازی طول ldh با فاصله مساوی در طول انتهای آزاد خم
قطر تنگ و خاموت محصور کننده قلاب (حداقل 2 عدد) عمود بر طول ldh با فاصله مساوی در امتداد طول مستقیم ** (mm)
تعداد تنگ و خاموت محصور کننده قلاب (حداقل 2 عدد) عمود بر طول ldh با فاصله مساوی در امتداد طول مستقیم
Ath مساحت کل تنگ ها و خاموتهای محصور کننده ی میلگرد مهار شده با قلاب (mm2)
Ahs مساحت کل میلگردهای مهار شده با قلاب (mm2)
فاصله میلگردهای مهار شونده بیش از 6db است

* فاصله ی این تنگ ها و خاموتها باید کمتر از 8db بوده و در طول 15 برابر قطر میلگرد، اندازه گیری شده از قسمت مستقیم مهار شده واقع شده باشد.

** فاصله این تنگ ها و خاموتها باید کمتر از 8db باشد.

* , ** تنگ ها و خاموتها باید حداقل طولی معادل 0.75ldh از انتهای خم را در امتداد ldh محصور کنند.

برای میلگردهای مهار شده با قلاب استاندارد در انتهای غیر ممتد عضو که در آن پوشش جانبی و فوقانی (یا تحتانی) قلاب کمتر از 65 میلیمتر است، قلاب باید در طول گیرایی ldh توسط تنگ یا خاموت عمود بر امتداد میلگرد و با فواصل کمتر از سه برابر قطر میلگرد محاط شود. فاصله اولین تنگ یا خاموت از بر بیرونی خم قلاب نباید بیشتر از دو برابر قطر میلگرد باشد.

قلاب نباید برای مهار میلگرد در فشار بکار رود.

ضریب rAs در محاسبه قلاب برابر 1 فرض می شود.


پوشش میلگرد
محصور شدگی آرماتور
محل مهار
مقاومت بتن
خلاصه ضرایب اصلاح
Ψg
Ψe
Ψs
Ψt
طول گیرایی میلگرد آجدار با قلاب استاندارد در کشش
ldh1 طول گیرایی میلگرد آجدار با قلاب استاندارد برابر 8db (mm)
ldh min حداقل طول گیرایی میلگرد آجدار با قلاب استاندارد در کشش (mm) 150
ldh2 طول گیرایی میلگرد آجدار با قلاب استاندارد طبق رابطه 9-21-3 (mm)
ldh طول گیرایی میلگرد آجدار با قلاب استاندارد (mm)
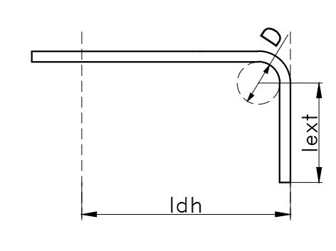
مشخصات قلاب 90 درجه استاندارد برای مهار میلگرد طولی آجدار
قلاب 90 درجه
ldh طول گیرایی میلگرد آجدار با قلاب استاندارد (mm)
D حداقل قطر داخلی خم
lext طول مستقیم پس از خم
مشخصات قلاب 180 درجه استاندارد برای مهار میلگرد طولی آجدار
قلاب 180 درجه
ldh طول گیرایی میلگرد آجدار با قلاب استاندارد (mm)
D حداقل قطر داخلی خم
lext طول مستقیم پس از خم

6. قلاب برای مهار میلگردهای عرضی

dbv قطر میلگرد عرضی - حداقل 10 و حداکثر 25 میلیمتر (mm)
مشخصات قلاب 90 درجه استاندارد برای مهار میلگردهای عرضی
قلاب 90 درجه
D حداقل قطر داخلی خم (mm)
lext طول مستقیم پس از خم (mm)
مشخصات قلاب 135 درجه استاندارد برای مهار میلگردهای عرضی (قلاب لرزه ای)
قلاب 180 درجه
D حداقل قطر داخلی خم (mm)
lext طول مستقیم پس از خم (mm)
مشخصات قلاب 180 درجه استاندارد برای مهار میلگردهای عرضی
قلاب 180 درجه
D حداقل قطر داخلی خم (mm)
lext طول مستقیم پس از خم (mm)

قلاب لرزه ای در دورگیرهای دایروی می تواند دارای خم حداقل 90 درجه باشد.

شرایط قلاب دوخت

الف- سنجاقی باید یکپارچه باشد

ب- یک انتهای سنجاقی باید دارای قلاب لرزه ای بوده و انتهای دیگر آن باید دارای قلاب با زاویه ی حداقل 90 درجه،

پ-قلاب باید در برگیرنده میلگرد طولی پیرامونی مقطع باشد،

ت- انتهای با خم 90 درجه دو سنجاقی متوالی که میلگرد طولی را در بر می گیرد، باید بطور یک در میان در وجوه مقبل مقطع قرار گیرند، مگر آن که ضوابط بند 9-21-6-1-7


بازدید: ...